
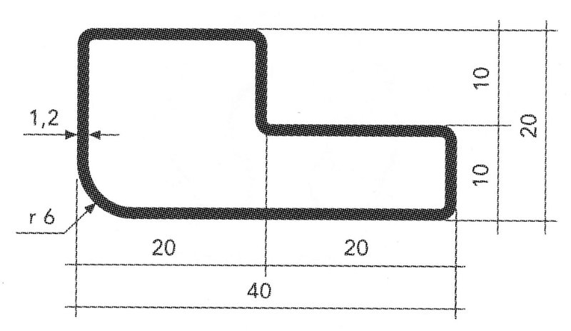
Profiles-speciaux-EN_10305-3-S3-S4 > T-1567
Ref:T.1567
T.1567
Seulement Vendu en paquets entiers ( 150 ou 200 bar)
|
thickness (mm) |
kg/m |
| 1,2 | 1,089 |
Autres produits recommandés




