
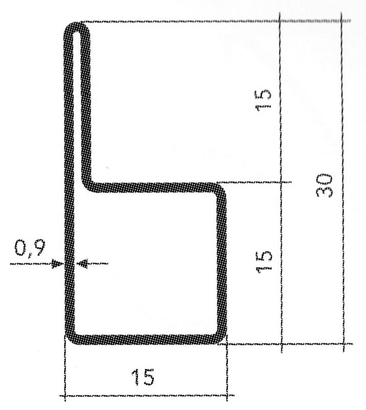
Profiles-speciaux-EN_10305-3-S3-S4 > T-1508
Ref:T.1508
T.1508
Seulement Vendu en paquets entiers ( 150 ou 200 bar)
|
thickness (mm) |
kg/m |
| 0,9 | 0,624 |
Autres produits recommandés




